Выбрать город Актау Выбрать город
Почта
Напишите нам!
Телефон
Бесплатно по России
Телеграм
WhatsApp

Трубы ППУ ПЭ в Актау

Трубы ППУ в изоляции ПЭ в Актау: производство на заказ и доставка по России. Предлагаем широкий выбор продукции собственного производства-трубы ППУ с различным диаметром, весом и размером. Диаметр труб ППУ ПЭ от 25 до 500 мм.

Трубы ППУ с полиэтиленовой изоляцией с завода Альфа-тех Инвест изготовлены по ГОСТ и строго соответствуют качеству. Предоставляем сертификаты на изделия. Работаем по всей России и СНГ. Задать любые вопросы и узнать цены на трубы ППУ ПЭ можно по номеру 8 (800) 700-43-11.

Трубы ППУ ПЭ в Актау доступны для заказа Альфа-тех Инвест. Собственное производство позволяет выполнять как стандартные, так и индивидуальные проекты. Поможем подобрать изделия, которые необходимы для реализации проекта любой сложности. На сайте вы можете ознакомиться с сертификатами на трубы ППУ ПЭ. При необходимости рассчитаем точную стоимость с учетом ваших требований.

Трубы ППУ ПЭ
Трубы ППУ ПЭ

Описание:

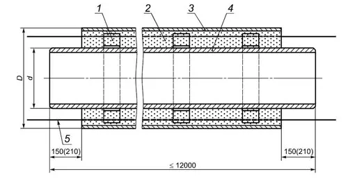
Конструкция стальной трубы ППУ-ПЭ теплоизолированной

Условные обозначения:

  1. центрирующая опора (центратор);
  2. теплоизоляция из пенополиуретана (ППУ);
  3. труба-оболочка из полиэтилена (ПЭ);
  4. стальная труба трубопровода;
  5. медный провод-индикатор системы оперативного дистанционного контроля (ОДК).
Получить каталог
трубы ППУ, фасонные изделия, комплектующие, многогранные опоры и металлоконструкции

Преимущества сотрудничества с Альфа-тех Инвест

Наш завод имеет большой опыт производства труб ППУ ПЭ ГОСТ 30732-2006. На каждом этапе изготовления осуществляется тщательный контроль, что позволяет исключать поставки бракованных изделий. Вы можете рассчитывать на качество продукции и ответственный подход с нашей стороны. Осуществляем своевременную доставку, строго соблюдаем сроки и договоренности.

За время работы нашими постоянными клиентами стали крупные предприятия России и стран СНГ. На сайте вы можете ознакомиться с примерами реализованных проектов и полным каталогом стальных труб ППУ. Мы осуществляем выпуск широкой линейки продукции, в том числе:

  • трубы ППУ ОЦ — оцинкованный слой обеспечивает эффективную защиту от различных повреждений;
  • трубы ППУ с ОДК — система помогает быстро отреагировать на возможные проблемы.

Процесс выбора трубы ППУ в ПЭ изоляции по ГОСТ

Трубы ППУ в оболочке из полиэтилена получили широкое распространение, так как позволяют увеличить показатели энергоэффективности, сохраняют тепло, что помогает сократить потери.

Размеры ППУ труб в ПЭ оболочке: 

Наружный диаметр и минимальная толщина стенки стальных труб , мм Тип 1 Тип 2
Средний наружный диаметр изолированных труб с ПЭ оболочкой Расчетная толщина слоя ППУ Средний наружный диаметр изолированных труб с ПЭ оболочкой Расчетная толщина слоя ППУ
Номинальный Предельное отклонение (+) Номинальный Предельное отклонение (+)
32×3,0 90; 110; 125 2,7; 3,5; 37 26,0; 36,5; 43,5
38×3,0 110; 125 3,2; 3,7 33,0; 40,5
45×3,0 125 3,7 37,0
57×3,0 125 3,7 31,5 140 4,1 38,5
76×3,0 140 4,1 29,0 160 4,7 39,0
89×4,0 160 4,7 32,5 180 5,4 42,5
108×4,0 180 5,4 33,0 200 5,9 43,0
133×4,0 225 6,6 42,5 250 7,4 54,5
159×4,5 250 7,4 41,5 280 8,3 55,5
219×6,0 315 9,8 42,0 355 10,4 62,0
273×7,0 400 11,7 57,0 450 13,2 81,5
325×7,0 450 13,2 55,5 500 14,6 79,5
426×7,0 560 16,3 58,2 600; 630 16,3 77,6; 92,5
530×7,0 710 20,4 78,9
630×8,0 800 23,4 72,5
720×8,0 900 26,3 76,0
820×9,0 1000 29,2 72,4 1100 32,1 122,5
920×10,0 1200 32,1 74,4 1200 35,1 120,5
1020×11,0 1100 35,1 70,4
1220×11,0 1425 38,2 79,0
1420×12,0 1600 41,2 90,0

Наше предприятие поможет подобрать оптимальные характеристики: диаметр, вес и размеры трубы ППУ ПЭ. Мы осуществляем производство строго по установленным нормам, продукция имеет отличные свойства и длительный срок эксплуатации.

Реализованные проекты

Труба в ППУ-изоляции
Труба в ППУ-изоляции

Произведена прокладка и успешно запущены в работу трубопроводы в ППУ-изоляции на АЗС Магистраль М-7 Волга 846 км.

Трубы ППУ в изоляции
Трубы ППУ в изоляции

Произведена прокладка и успешно запущены в работу трубопроводы в ППУ-изоляции в Казань, ул.Горького, д.10

Трубопровод в ППУ-изоляции
Трубопровод в ППУ-изоляции

Произведена прокладка и успешно запущены в работу трубопроводы в ППУ-изоляции в Казань, ул.Галактионова, д.3А

Трубы в ППУ-изоляции
Трубы в ППУ-изоляции

 Произведена прокладка и успешно запущены в работу трубопроводы в ППУ-изоляции в Казань, ул.Зеленая, д.1

Труба ППУ
Труба ППУ

Произведена прокладка и успешно запущены в работу трубопроводы в ППУ-изоляции в Казань, ул.Лесгафта, д. 24-2

Трубопровод ППУ
Трубопровод ППУ

Произведена прокладка и успешно запущены в работу трубопроводы в ППУ-изоляции в Казань, ул.Вишневского, д.51-3

Прокладка трубопровода
Прокладка трубопровода

Произведена прокладка и успешно запущены в работу трубопроводы в ППУ-изоляции в Казань, ул.Тополевая, д.8

Прокладка трубопровода ППУ
Прокладка трубопровода ППУ

Произведена прокладка и успешно запущены в работу трубопроводы в ППУ-изоляции  в г. Казань, ул.Миля д.63А

Прокладка трубопровода ППУ- изоляции
Прокладка трубопровода ППУ- изоляции

Произведена прокладка и успешно запущены в работу трубопроводы в ППУ-изоляции в г.Уфа, пр.Дружбы народов, стройка около д.53

Прокладка трубопровода
Прокладка трубопровода

 Произведена прокладка и успешно запущены в работу трубопроводы в ППУ-изоляции в г.Набережные Челны пр.Набережночелнинский, д.19

Трубопровод ППУ-изоляции
Трубопровод ППУ-изоляции

Произведена прокладка и успешно запущены в работу трубопроводы в ППУ-изоляции в г.Набережные Челны, ЖК Красные Челны пос. 3ЯБ Комсомольский р-н

Также мы осуществляем производство других типов изделий:

На сайте вы можете ознакомиться с полным каталогом труб ППУ ПЭ в изоляции.

Купить трубы ППУ ПЭ в Актау

Итоговая цена трубы ППУ ПЭ в изоляции зависит от аспектов конкретного заказа. Мы придерживаемся индивидуального подхода, что позволяет полностью решить запросы клиентов. Вы можете запросить актуальный прайс на трубы ППУ ПЭ в полиэтиленовой оболочке прямо сейчас. Наши менеджеры предоставят сведения в короткие сроки.

Если вы хотите купить трубы ППУ ПЭ, то позвоните по номеру: 8 (800) 700-43-11. Также для связи доступен электронный адрес нашей компании: info@alfa-teh.ru. Благодаря консультации наших специалистов вы сможете сделать правильный выбор.

Заказать трубы ППУ ПЭ в изоляции в Актау

Наш завод предлагает заказать трубы ППУ ПЭ в изоляции на оптимальных условиях. На сайте вы можете ознакомиться с широким ассортиментом, подобрать все необходимое для реализации вашего проекта. Если вам требуется дополнительная информация: 

Напишите нам!
Бесплатно по России
Вопросы и ответы
На каких условиях оплаты вы работаете?
Открыть/Закрыть
Стандартные условия — предоплата 100%. Для постоянных клиентов и крупных серийных заказов условия обсуждаются индивидуально.
Какие сроки изготовления вашей продукции?
Открыть/Закрыть
Сроки изготовления определяются индивидуально для каждого заказа. В среднем это от 5 до 14 рабочих дней.
Можете ли вы организовать доставку продукции до клиента?
Открыть/Закрыть
Мы сотрудничаем с множеством логистических компаний. Наши менеджеры рассчитают стоимость продукции с доставкой в любой регион России. В коммерческое предложение входит расчет веса, объема и необходимого количества транспорта. Вы также можете самостоятельно организовать доставку.
Можно ли приехать на ваш завод на ознакомительную экскурсию?
Открыть/Закрыть
Да, мы приглашаем потенциальных клиентов на экскурсию. Вы сможете ознакомиться с нашим производством и увидеть процесс изготовления интересующей вас продукции. Наш завод находится по адресу: Казань, ул. Михаила Миля, 53а.
Есть ли гарантия на вашу продукцию, и сколько она составляет?
Открыть/Закрыть
Мы предоставляем гарантию на производимую продукцию сроком до 30 лет.
Какие документы качества вы выдаете на производимую продукцию?
Открыть/Закрыть
На каждую партию отгружаемой продукции мы выдаем сертификат качества и паспорт.
WhatsApp Телеграм Телефон
Архангельская Область
Архангельск
Астраханская Область
Астрахань
Башкортостан Республика
Уфа
Владимирская Область
Владимир
Волгоградская Область
Волгоград
Воронежская Область
Воронеж
Кировская область
Киров
Кировская Область
Киров
Коми Республика
Сыктывкар
Костромская Область
Кострома
Красноярский Край
Красноярск
Ленинградская Область
Санкт-Петербург
Мордовия Республика
Саранск
Нижегородская Область
Нижний Новгород
Новосибирская Область
Новосибирск
Омская Область
Омск
Пензенская Область
Пенза
Пермский Край
Пермь
Ростовская Область
Ростов-на-Дону
Рязанская Область
Рязань
Самарская Область
СамараТольятти
Саратовская Область
БалаковоСаратов
Свердловская Область
Екатеринбург
Тамбовская Область
Тамбов
Тверская Область
Тверь
Тюменская Область
Тюмень
Удмуртская Республика
Ижевск
Ульяновская Область
Ульяновск
Ханты-Мансийский Автономный округ - Югра Автономный округ
Сургут
Челябинская Область
Челябинск
Чувашская Республика - Чувашия
Чебоксары
Ярославская Область
Рыбинск
Наверх